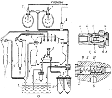
Рисунок 1.6.2.5 – Топливная система ЭФУ автомобиля КамАЗ:
а — схема; б — перепускной клапан; в — клапан-жиклер; 1 — топливный бак; 2 — фильтр грубой очистки топлива; З — форсунки; 4 — топливный насос высокого давления; 5 — перепускной клапан; 6 — топливоподкачивающий насос; 7 — факельные свечи; 8 — электромагнитный топливный клапан; 9 — клапан-жиклер; 10 — фильтр тонкой очистки топлива; 11 — корпус перепускного клапана; 12 — запорный шарик; 13 и 19 — пружины; 14 — пробка; 15 — прокладка; 16 —регулировочная шайба; 17 — направляющая клапана; 18 — крышка фильтра клапана-жиклера; 20 — клапан-жиклер; 21 — регулировочная шайба
Добавочный резистор (рисунок 1.6.2.6) уменьшает напряжение в момент предварительного нагрева штифта факельной свечи и закорачивается в момент включения стартера. Электротермическое реле имеет два контакта, один из которых расположен на биметаллической пластине. При прохождении тока после определенного времени, зависящего от температуры окружающей среды, биметаллическая пластина нагревается, и контакты размыкаются. В этот момент включается электромагнитный клапан и загорается контрольная лампа, сигнализирующая о необходимости включения стартера, так как штифт факельной свечи нагрелся до требуемой температуры (примерно до 1000° С) в зависимости от температуры окружающей среды составляет 70 – 110 с.
Рисунок 1.6.2.6 – Электрическая схема системы пуска и управления работой ЭФУ автомобиля КамАЗ и схема коммутации выключателя приборов и стартера
1 — кнопка дистанционного выключателя массы батарей; 2 — включатель массы аккумуляторных батарей: 3 — аккумуляторные батареи; 4 дублирующий выключатель стартера; 5 — стартер; 6 — реле отключения обмотки возбуждения генератора; 7 — шунтирующее реле; 8 — выключатель ЭФУ; 9 – добавочный резистор с электротермическим реле; 10 — контрольная лампа готовности к пуску ЭФУ; 11 — электромагнитный топливный клапан; 12 — факельные свечи; 13 — Выключатель приборов и стартера; 14 — предохранитель ПР51ОА; 15 — реле блокировки отключения массы аккумуляторных батарей; 16 - амперметр; 17 — дополнительное реле стартера РС530
Техника безопасности и охрана труда
Общие требования безопасности при производстве погрузочно-разгрузочных работ определены ГОСТ 12.3.009-76 «Работы погрузочно-разгрузочные. Общие требования безопасности». При нахождении работников на железнодорожных путях необходимы постоянная внимательность и соблюдение мер предосторожности. Перехо ...
Периодичность, сроки контроля технического состояния и выполнения ремонта
Техническое обслуживание (ТО-1, ТО-2, ТО-3) проводят с целью предупреждения появления неисправностей и поддержания электровозов в работоспособном состоянии, подлежащем слесарно-гигиеническим нормам, обеспечивающим их бесперебойную работу и безопасность движения, а также высокий уровень культуры обс ...
Экономический
эффект внедрения мероприятий по экологичности и безопасности
Проведя анализ производственного травматизма и подсчитав ущерб предприятия от несчастных случаев, внедрив запланированные мероприятия по экологичности и охране труда, можно произвести предположительный экономический эффект от внедрения мероприятий, куда включаем капитальные вложения и эксплуатацион ...



